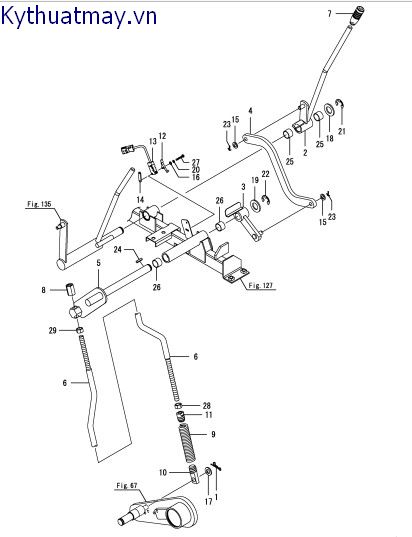
| STT | Tên sản phẩm | Mã số | Giá bán | Đặt hàng |
|---|---|---|---|---|
| 1 | CỤM VỎ, CỘT TRỤ ST. | 1E6C80-61000 | 16,303,000 | |
| 1-1 | CỤM VỎ, CỘT TRỤ ST. | 1E6C80-61001 | ||
| 2 | CHỐT, DẦU | 1E6B30-35120 | 25,000 | |
| 3 | VỎ,ST.TRỤ MÁY | 7E6C80-61010 | ||
| 4 | VỎ,CỘT TRỤ ST. DƯỚI. | 1E6C80-61010 | ||
| 5 | VỎ,CỘT TRỤ ST. TRÊN. | 1E6C80-61020 | ||
| 6 | TẤM,CĂNG | 1E6C80-61030 | 31,000 | |
| 7 | NẮP,CỘT TRỤ ST. | 1E6C80-61140 | ||
| 8 | TAY,HÃM | 1E6C80-61160 | ||
| 9 | LÒ XO,1,8X14X82 | 1E6C80-61550 | 61,000 | |
| 10 | VÒNG ĐỆM 14 | 22137-140000 | 6,000 | |
| 11 | VÒNG, 14 | 22242-000140 | 5,000 | |
| 12 | PHỐT CHỮ O 1AP12.0 | 24311-000120 | 2,000 | |
| 13 | ỐNG LÓT, 14X20 | 24550-014200 | 80,000 | |
| 14 | BU LÔNG, M8X 20 | 26014-080202 | 6,000 | |
| 15 | BU LÔNG, M8X 35 | 26014-080352 | ||
| 16 | BU LÔNG, M8X 35 | 26014-080352 | ||
| 17 | BU LÔNG M8X 40 | 26014-080402 | 30,000 | |
| 18 | BU LÔNG, M10X 16 | 26014-100162 | 30,000 | |
| 19 | CHỐT, M8 | 1E6C80-61600 | ||
| 20 | VÒNG ĐỆM 8 | 22137-080000 | 6,000 | |
| 21 | VÒNG ĐỆM, LÒ XO 8 | 22217-080000 | 3,000 | |
| 22 | PHỐT CHỮ O, 1AP9.0 | 24311-000090 | 2,000 | |
| 23 | BU LÔNG, M8X130 MẠ | 26116-081302 | 55,000 |
| STT | Tên sản phẩm | Mã số | Giá bán | Đặt hàng |
|---|---|---|---|---|
| 1 | BÁNH RĂNG,14 | 1E6C80-61060 | 175,000 | |
| 2 | BÁNH RĂNG,26T | 1E6C80-61070 | 310,000 | |
| 3 | TRỤC,TRUYỀN ĐỘNG | 1E6C80-61110 | ||
| 4 | TRỤC,TRƯỢT | 1E6C80-61200 | ||
| 5 | BỘ TRƯỢT | 1E6C80-61210 | ||
| 6 | CAM,TRỤC BẢN LỀ | 1E6C80-61220 | 87,000 | |
| 7 | GIÁ ĐỠ, CAM | 1E6C80-61230 | ||
| 8 | CHỐT, 8X20 | 1E6C80-61240 | 78,000 | |
| 9 | CAM,QUAY A | 1E6C80-61250 | 1,565,000 | |
| 10 | VÒNG ĐỆM 8 | 22137-080000 | 6,000 | |
| 11 | VÒNG, 15 | 22242-000150 | 2,000 | |
| 12 | VÒNG, 15 | 22242-000150 | 2,000 | |
| 13 | VÒNG, 17 | 22242-000170 | 2,000 | |
| 14 | VÒNG, 32 | 22252-000320 | 12,000 | |
| 15 | VÒNG, 32 | 22252-000320 | 12,000 | |
| 16 | CHỐT, ĐỊNH VỊ 2.0X16 | 22417-200160 | 30,000 | |
| 17 | THEN, 5X 12 | 22550-050120 | 30,000 | |
| 18 | BẠC ĐẠN, BÓNG 6001UU | 24104-060014 | 64,000 | |
| 19 | BẠC ĐẠN, BÓNG 6002UU | 24104-060024 | 72,000 | |
| 20 | BẠC ĐẠN, BÓNG 6002UU | 24104-060024 | 72,000 | |
| 21 | BẠC ĐẠN, 6003UU | 24104-060034 | 75,000 | |
| 22 | PHỐT, NHỚT TC153207 | 24421-153207 | 64,000 | |
| 23 | PHỐT, DẦU TC203208 | 24421-203208 | 51,000 | |
| 24 | ỐNG LÓT, 20X20 | 24550-020200 | 55,000 |
| STT | Tên sản phẩm | Mã số | Giá bán | Đặt hàng |
|---|---|---|---|---|
| 1 | BẠC ĐẠN, 6900 | 1E1061-25481 | 34,000 | |
| 2 | CỤM LIÊN KẾT,QUAY RA | 1E6C80-61300 | ||
| 3 | LIÊN KẾT,QUAY RA | 1E6C80-61320 | ||
| 4 | BỘ TRƯỢT | 1E6C80-61330 | ||
| 5 | TRỤC BẢN LỀ,LIÊN KẾT THAY ĐỔI CHÍNH | 1E6C80-61340 | 184,000 | |
| 6 | TAY GẠT,65 | 1E6C80-61440 | ||
| 7 | BU LÔNG,BỘ8 | 1E6C80-61520 | 42,000 | |
| 8 | ỐNG LÓT,8X10X6 | 1E6C80-61540 | ||
| 9 | VÒNG ĐỆM 10 | 22117-100000 | 5,000 | |
| 10 | VÒNG ĐỆM 8 | 22137-080000 | 6,000 | |
| 11 | VÒNG ĐỆM 14 | 22137-140000 | 6,000 | |
| 12 | VÒNG, 10 | 22242-000100 | ||
| 13 | VÒNG, 15 | 22242-000150 | 2,000 | |
| 14 | VÒNG, 15 | 22242-000150 | 2,000 | |
| 15 | VÒNG, 22 | 22252-000220 | 30,000 | |
| 16 | VÒNG, 35 | 22252-000350 | 9,000 | |
| 17 | CHỐT, ĐỊNH VỊ 2.0X16 | 22417-200160 | 30,000 | |
| 18 | BẠC ĐẠN, 6202UU | 24104-062024 | 67,000 | |
| 19 | PHỐT CHỮ O, 1AP11.0 | 24311-000110 | 3,000 | |
| 20 | PHỐT, DẦU TC153507 | 24421-153507 | ||
| 21 | ỐNG LÓT, 10X12 | 24550-010120 | ||
| 22 | ỐNG LÓT, 15X25 | 24550-015250 | ||
| 23 | BU LÔNG, M8X 20 | 26014-080202 | 6,000 |
| STT | Tên sản phẩm | Mã số | Giá bán | Đặt hàng |
|---|---|---|---|---|
| 1 | PHỐT, DẦU VC12.18.5 | 1E6452-13950 | ||
| 2 | BẠC ĐẠN,8-16 | 1E8490-54560 | ||
| 3 | LÒ XO, NĨA | 1E6150-56040 | ||
| 4 | CHỐT,HÃM | 1E6C80-61150 | ||
| 5 | CỤM CHĨA,THAY ĐỔI | 1E6C80-61260 | ||
| 6 | TRỤC,THAY ĐỔI | 1E6C80-61370 | ||
| 6-1 | TRỤC,THAY ĐỔI | 1E6D15-61370 | ||
| 7 | TAY GẠT,ĐẦU RA | 1E6C80-61380 | 156,000 | |
| 8 | TAY GẠT,GIẢM TỐC | 1E6C80-61410 | ||
| 9 | BỘ TRƯỢT,HÃM | 1E6C80-61460 | ||
| 10 | CHĨA,HÃM | 1E6C80-61490 | ||
| 11 | NÚT BẤM,M6X15 | 1E6C80-61530 | ||
| 12 | VÒNG ĐỆM 8 | 22137-080000 | 6,000 | |
| 13 | VÒNG ĐỆM, LÒ XO 8 | 22217-080000 | 3,000 | |
| 14 | VÒNG, 20 | 22242-000200 | 3,000 | |
| 15 | VÒNG, 32 | 22252-000320 | 12,000 | |
| 16 | VÒNG, 32 | 22252-000320 | 12,000 | |
| 17 | VÒNG, 35 | 22252-000350 | 9,000 | |
| 18 | VÒNG, E-6 | 22272-000060 | 9,000 | |
| 19 | VÒNG, E-6 | 22272-000060 | 9,000 | |
| 20 | BẠC ĐẠN, BÓNG 6002UU | 24104-060024 | 72,000 | |
| 21 | BẠC ĐẠN, BÓNG 6002UU | 24104-060024 | 72,000 | |
| 22 | BẠC ĐẠN, 6003UU | 24104-060034 | 75,000 | |
| 23 | BẠC ĐẠN THÉP 5/16 | 24190-100002 | 30,000 | |
| 24 | PHỐT, NHỚT TC153207 | 24421-153207 | 64,000 | |
| 25 | PHỐT, DẦU TC173507 | 24421-173507 | 51,000 | |
| 26 | ỐNG LÓT, 15X25 | 24550-015250 | ||
| 27 | ỐNG LÓT, 20X20 | 24550-020200 | 55,000 | |
| 28 | ĐAI ỐC, M6 | 26717-060002 | 11,000 | |
| 29 | ĐAI ỐC, M8 | 26717-080002 | 30,000 | |
| 30 | CHỐT, 32 | 27260-320000 | 44,000 | |
| 31 | CHỐT, 32 | 27260-320000 | 44,000 |
| STT | Tên sản phẩm | Mã số | Giá bán | Đặt hàng |
|---|---|---|---|---|
| 1 | TAY CẦM, GIÁ | 1E8559-02050 | ||
| 2 | TRỤC,KHÓA NGHIÊNG | 1E6C80-61610 | ||
| 3 | TAY GẠT,NGHIÊNG | 1E6C80-61620 | ||
| 4 | VÒNG ĐỆM,10,4X15X5 | 1E6C80-61670 | 25,000 | |
| 5 | KHỚP NỐI,TAY CẦM | 1E6C80-61680 | ||
| 6 | TRỤC,HỆ THỐNG LÁI TRÊN | 1E6C80-61700 | ||
| 6-1 | TRỤC,HỆ THỐNG LÁI | 1E6D15-61640 | ||
| 7 | CỘT TRỤ,ST. NGHIÊNG | 1E6C80-61760 | 536,000 | |
| 7-1 | CỘT ĐỨNG,LÁI | 1E6D15-61740 | ||
| 8 | TRỤC,HỆ THỐNG LÁI DƯỚI | 1E6C80-61800 | ||
| 9 | BỘ NẮP ĐẬY,BÁNH LÁI S | 1E6C80-61830 | 285,000 | |
| 10 | CỤM BÁNH LÁI, HỆ THỐNG LÁI | 1E6C80-61900 | 3,440,000 | |
| 11 | VÒNG ĐỆM 12 | 22137-120000 | 5,000 | |
| 12 | VÒNG ĐỆM 12 | 22137-120000 | 5,000 | |
| 13 | VÒNG ĐỆM 6 | 22157-060000 | 11,000 | |
| 14 | VÒNG, 35 | 22252-000350 | 9,000 | |
| 14-1 | VÒNG, 20 | 22242-000200 | 3,000 | |
| 15 | BẠC ĐẠN, 6003UU | 24104-060034 | 75,000 | |
| 15-1 | VÒNG BI, 6904LLU | 1A8296-15240 | ||
| 16 | BU LÔNG, M6X 16 | 26013-060162 | 25,000 | |
| 17 | BU LÔNG, M8X 25 | 26013-080252 | 6,000 | |
| 17-1 | BU LÔNG, M8X 25 | 26013-080252 | 6,000 | |
| 18 | BU LÔNG, M10X 20 | 26013-100202 | 34,000 | |
| 18-1 | BU LÔNG, M8X 25 | 26014-080252 | 30,000 | |
| 19 | ĐAI ỐC, M12 | 26356-120002 | 95,000 |
| STT | Tên sản phẩm | Mã số | Giá bán | Đặt hàng |
|---|---|---|---|---|
| 1 | CỤM CÔNG TẮC, CHÌA KHÓA | 1C7020-06400 | 516,000 | |
| 2 | VÒNG ĐỆM XỐP, 5X18X18 | 1E6B30-34470 | 12,000 | |
| 3 | CHỐT, 8 | 1J5240-44700 | 30,000 | |
| 4 | CHỐT, 8 | 1J5240-44700 | 30,000 | |
| 5 | VÍT, 5X12 | 1E6B30-61400 | 5,000 | |
| 6 | VÍT, 5X12 | 1E6B30-61400 | 5,000 | |
| 7 | VÍT, 5X12 | 1E6B30-61400 | 5,000 | |
| 8 | BIỂU TƯỢNG, FY XL | 1E6C80-61570 | 228,000 | |
| 9 | BIỂU TƯỢNG, FY XL TRÁI | 1E6C80-61580 | 181,000 | |
| 10 | BIỂU TƯỢNG, FY XL PHẢI | 1E6C80-61590 | 181,000 | |
| 11 | PA NÔ, TRƯỚC | 1E6C80-61972 | 631,000 | |
| 12 | MẶT NẠ,TRƯỚC | 1E6C80-61980 | 1,298,000 | |
| 12-1 | MẶT NẠ,TRƯỚC | 1E6D15-61980 | 1,099,000 | |
| 13 | CỤM CỘT TRỤ,TRƯỚC | 1E6C80-62003 | ||
| 13-1 | CỤM CỘT TRỤ,TRƯỚC | 1E6D15-62011 | ||
| 14 | THANH GIẰNG, PA NÔ TRƯỚC | 1E6C80-62293 | ||
| 15 | ỐNG, ĐỠ TRƯỚC | 1E6C80-62952 | ||
| 16 | CỤM THANH GIẰNG, ĐỒNG HỒ | 1E6C80-63801 | 350,000 | |
| 17 | THANH GIẰNG, ĐÈN | 1E6C80-63850 | 440,000 | |
| 18 | CÔNG TẮC, CẢNH BÁO DỪNG | 1E8665-81300 | 204,000 | |
| 19 | CỤM ĐÈN, CƠ CẤU 35W | 1E6C40-81500 | 544,000 | |
| 20 | BÓNG ĐÈN,35W | 1E6C40-81510 | 213,000 | |
| 21 | ĐỒNG HỒ | 1E6C80-82301 | 3,157,000 | |
| 22 | RƠ LE, ISO 20A | 1E9256-82600 | 680,000 | |
| 23 | RƠ LE, ISO 20A | 1E9256-82600 | 680,000 | |
| 24 | RƠ LE, ISO 20A | 1E9256-82600 | 680,000 | |
| 25 | RƠ LE, ISO 20A | 1E9256-82600 | 680,000 | |
| 26 | GIOĂNG CAO SU, GỜ BẢO VỆ 50 | 1E6B31-94180 | 19,000 | |
| 27 | BU LÔNG, M6X 16 | 26014-060162 | 11,000 | |
| 28 | BU LÔNG, M8X 16 | 26014-080162 | 6,000 | |
| 29 | BU LÔNG, M8X 20 | 26014-080202 | 6,000 | |
| 30 | BU LÔNG, M8X 20 | 26014-080202 | 6,000 | |
| 31 | BU LÔNG, M8X 20 | 26014-080202 | 6,000 | |
| 32 | VÍT, M5X20 | 26023-050202 | 34,000 | |
| 33 | ĐAI ỐC, M8 | 26367-080002 | 25,000 |
| STT | Tên sản phẩm | Mã số | Giá bán | Đặt hàng |
|---|---|---|---|---|
| 1 | VÍT, 5X12 | 1E6B30-61400 | 5,000 | |
| 2 | VÍT, 5X12 | 1E6B30-61400 | 5,000 | |
| 3 | VÍT, 5X12 | 1E6B30-61400 | 5,000 | |
| 4 | VÍT, 5X12 | 1E6B30-61400 | 5,000 | |
| 5 | DẪN HƯỚNG, GIẮC NỐI | 1E6B30-61990-1 | ||
| 6 | PA NÔ,MẶT BÊN | 1E6C80-62301 | 724,000 | |
| 7 | KHUNG, CỘT TRỤ BÊN | 1E6C80-62314 | ||
| 7-1 | KHUNG, CỘT TRỤ BÊN | 1E6C80-62600 | ||
| 7-2 | KHUNG, CỘT TRỤ BÊN | 1E6C80-62601 | ||
| 8 | THANH GIẰNG, PA NÔ A | 1E6C80-63500-1 | ||
| 8-1 | THANH GIẰNG, PA NÔ A | 1E6D10-63500 | ||
| 9 | THANH GIẰNG, PA NÔ B | 1E6C80-63530-1 | ||
| 10 | THANH GIẰNG,PANEL C | 1E6C80-63560-1 | ||
| 11 | THANH GIẰNG, PANEL D | 1E6C80-63600-1 | ||
| 12 | NẮP, DƯỚI PHÍA TRƯỚC | 1E6C80-63942 | 398,000 | |
| 12-1 | NẮP, DƯỚI PHÍA TRƯỚC | 1E6C80-63944 | ||
| 13 | CÔNG TẮC, KẾT HỢP | 1E6C40-81300 | 432,000 | |
| 14 | CỤM CÒI | 7E6150-83301 | 285,000 | |
| 15 | BU LÔNG, M6X 16 | 26014-060162 | 11,000 | |
| 16 | BU LÔNG, M6X 16 | 26014-060162 | 11,000 | |
| 17 | BU LÔNG, M6X 16 | 26014-060162 | 11,000 | |
| 18 | BU LÔNG, M6X 16 | 26014-060162 | 11,000 | |
| 19 | BU LÔNG, M8X 20 | 26014-080202 | 6,000 | |
| 20 | BU LÔNG, M8X 20 | 26014-080202 | 6,000 | |
| 20-1 | BU LÔNG, M8X 20 | 26014-080202 | 6,000 | |
| 21 | BU LÔNG, M8X 20 | 26014-080202 | 6,000 | |
| 22 | BU LÔNG, M8X 20 | 26014-080202 | 6,000 | |
| 23 | BU LÔNG, M8X 20 | 26014-080202 | 6,000 | |
| 24 | ĐAI ỐC, M6 | 26367-060002 | 25,000 |
| STT | Tên sản phẩm | Mã số | Giá bán | Đặt hàng |
|---|---|---|---|---|
| 1 | BU LÔNG CÁNH, 6X10 | 1F4124-44410 | 148,000 | |
| 2 | THANH GIẰNG, NẮP TRÁI | 1E6D10-62660-1 | ||
| 3 | THANH GIẰNG, NẮP PHẢI | 1E6C80-62690 | 187,000 | |
| 4 | NẮP, MẶT BÊN PHẢI | 1E6C80-62790 | 432,000 | |
| 4-1 | NẮP, MẶT BÊN PHẢI | 1E6D15-62800 | ||
| 5 | NẮP, MẶT BÊN PHẢI PHÍA SAU | 1E6C80-62830 | 213,000 | |
| 6 | NẮP,MẶT BÊN TRÁI PHÍA TRƯỚC | 1E6C80-63650 | 742,000 | |
| 7 | TẤM,BÊN A | 1E6C80-65400-1 | ||
| 8 | TẤM,BÊN | 1E6C80-65590 | ||
| 9 | GIOĂNG CAO SU, GỜ BẢO VỆ 50 | 1E6B31-94180 | 19,000 | |
| 10 | BU LÔNG, M6X 16 | 26014-060162 | 11,000 | |
| 11 | BU LÔNG, M6X 16 | 26014-060162 | 11,000 | |
| 12 | BU LÔNG, M6X 16 | 26014-060162 | 11,000 | |
| 13 | BU LÔNG, M8X 20 | 26014-080202 | 6,000 | |
| 14 | BU LÔNG, M8X 20 | 26014-080202 | 6,000 |
| STT | Tên sản phẩm | Mã số | Giá bán | Đặt hàng |
|---|---|---|---|---|
| 1 | ĐỆM 100 | 1E6B30-26600 | 30,000 | |
| 2 | NẮP, MẶT BÊN DƯỚI PHÍA SAU | 1E6C80-62741 | 897,000 | |
| 3 | NẮP, MẶT BÊN TRÁI | 1E6C80-62881 | 350,000 | |
| 4 | NẮP, MẶT BÊN TRÁI PHÍA SAU | 1E6C80-62891 | 168,000 | |
| 5 | NẮP, MẶT BÊN TRÊN A | 1E6C80-62910 | 194,000 | |
| 6 | NẮP, MẶT BÊN TRÊN B | 1E6C80-62931 | 168,000 | |
| 7 | NẮP, MẶT BÊN DƯỚI CHÍNH GIỮA | 1E6C80-63730-1 | ||
| 8 | MIẾNG XỐP,LY HỢP K E | 1E6C80-65470 | 12,000 | |
| 9 | XỐP CAO SU,K LY HỢP G | 1E6C80-65490 | ||
| 10 | GIOĂNG CAO SU, GỜ BẢO VỆ 50 | 1E6B31-94180 | 19,000 | |
| 11 | BU LÔNG, M6X 16 | 26014-060162 | 11,000 | |
| 12 | BU LÔNG, M6X 16 | 26014-060162 | 11,000 | |
| 13 | BU LÔNG, M6X 16 | 26014-060162 | 11,000 | |
| 14 | BU LÔNG, M6X 16 | 26014-060162 | 11,000 | |
| 15 | BU LÔNG, M6X 16 | 26014-060162 | 11,000 | |
| 16 | BU LÔNG, M6X 16 | 26014-060162 | 11,000 |
| STT | Tên sản phẩm | Mã số | Giá bán | Đặt hàng |
|---|---|---|---|---|
| 1 | LÒ XO 2.3X17.3X74 | 1E8559-35700 | 17,000 | |
| 2 | LÒ XO 2.3X17.3X74 | 1E8559-35700 | 17,000 | |
| 3 | CỤM BÀN ĐẠP, THẮNG | 1E6C80-63001 | ||
| 4 | CỤM TRỤC, BẢN LỀ | 1E6C80-63051 | ||
| 5 | LÁ, KHÓA BÀN ĐẠP THẮNG | 1E6B30-63101-2 | ||
| 6 | DÂY, THẮNG | 1E6C80-63150 | 442,000 | |
| 7 | CỔ DÊ, 100 | 1E8559-64400 | 9,000 | |
| 8 | CÔNG TẮC, ẤN TRÁI | 1E8770-81330 | 1,401,000 | |
| 9 | CỔ DÊ 140 | 1E8559-84970 | 34,000 | |
| 10 | VÒNG ĐỆM 8 | 22117-080000 | 9,000 | |
| 11 | VÒNG ĐỆM 8 | 22137-080000 | 6,000 | |
| 12 | VÒNG, 20 | 22242-000200 | 3,000 | |
| 13 | CHỐT, ĐỊNH VỊ 2.0X16 | 22417-200160 | 30,000 | |
| 14 | CHỐT, ĐỊNH VỊ 2.0X16 | 22417-200160 | 30,000 | |
| 15 | THEN 5X30 | 22550-050300 | 34,000 | |
| 16 | VÍT, M5X12 | 26022-050122 | 6,000 |
| STT | Tên sản phẩm | Mã số | Giá bán | Đặt hàng |
|---|---|---|---|---|
| 1 | CHỐT, CHẺ 8 | 1C730C-52320 | ||
| 2 | ỐNG LÓT,8X10X6 | 1E6C80-61540 | ||
| 3 | CẦN, THẮNG N A | 1E6C80-63090 | 97,000 | |
| 4 | CẦN,THẮNG N B | 1E6C80-63110 | 90,000 | |
| 5 | ĐAI ỐC, VÍT 10 L.H. | 1E8559-63481 | 20,000 | |
| 6 | ĐAI ỐC 10 | 1E8559-63860 | 109,000 | |
| 7 | DÂY, 1.2X80 | 1E9060-63990 | 34,000 | |
| 8 | CỤM CẦN GẠT,THAY ĐỔI CHÍNH | 1E6C80-64001 | 6,110,000 | |
| 8-1 | CỤM CẦN GẠT,THAY ĐỔI CHÍNH | 1E6C80-64002 | 6,766,000 | |
| 9 | CÔNG TẮC | 1E8730-88121 | ||
| 9-1 | CÔNG TẮC | 1E8730-88122 | 2,762,000 | |
| 10 | CỤM GIÁ ĐỠ, TRỤC BẢN LỀ | 1E6C80-64050 | 516,000 | |
| 10-1 | CỤM GIÁ ĐỠ, TRỤC BẢN LỀ | 1E6C80-64051 | ||
| 11 | CẦN, THAY ĐỔI CHÍNH A | 1E6C80-64070 | ||
| 12 | VÒNG ĐỆM | 1E9060-64101 | ||
| 13 | CẦN, THAY ĐỔI CHÍNH B | 1E6C80-64130 | ||
| 14 | VÒNG ĐỆM 25 | 1E8559-64220 | 45,000 | |
| 15 | LÒ XO 62*16 | 1E8559-64230 | ||
| 16 | LÁ 65 | 1E8559-64250 | 139,000 | |
| 17 | TAY GẠT, THAY ĐỔI CHÍNH | 1E6C80-64400 | 336,000 | |
| 18 | THANH GIẰNG,BẠC ĐẠN | 1E6C80-64450-1 | ||
| 19 | ỐNG LÓT, 15X31X15 | 1E6C80-64470 | ||
| 20 | CỤM CẦN CHUYỂN, CHẶN | 1E6C40-64560 | 36,000 | |
| 21 | LÒ XO, THAY ĐỔI CHÍNH | 1E6C40-64600 | 31,000 | |
| 22 | LÁ, ĐĨA MA SÁT 65 | 1E9430-64800 | 321,000 | |
| 23 | CẦN CHUYỂN, CON LĂN NV | 1E8255-81180 | 91,000 | |
| 24 | CÔNG TẮC | 1E8915-81450 | 680,000 | |
| 25 | ĐAI ỐC 2-M3, CÔNG TẮC | 1E8550-84220 | ||
| 26 | VÒNG ĐỆM 3 | 22137-030000 | 30,000 | |
| 27 | VÒNG ĐỆM 8 | 22137-080000 | 6,000 | |
| 28 | VÒNG ĐỆM 10 | 22137-100000 | 2,000 | |
| 29 | VÒNG ĐỆM, LÒ XO 3 | 22217-030000 | 30,000 | |
| 30 | VÒNG, 15 | 22242-000150 | 2,000 | |
| 31 | CHỐT, LÒ XO 4.0X20 | 22351-040020 | 23,000 | |
| 32 | CHỐT, ĐỊNH VỊ 2.0X20 | 22417-200200 | 8,000 | |
| 33 | CHỐT, ĐỊNH VỊ 2.5X25 | 22417-250250 | 9,000 | |
| 34 | ỐNG LÓT 15X15 | 24550-015150 | 56,000 | |
| 35 | BU LÔNG, M6X 16 | 26014-060162 | 11,000 | |
| 36 | BU LÔNG, M6X 16 | 26014-060162 | 11,000 | |
| 37 | BU LÔNG, M8X 20 | 26014-080202 | 6,000 | |
| 38 | VÍT, M3X20 | 26587-030202 | 30,000 | |
| 39 | ĐAI ỐC, M8 | 26717-080002 | 30,000 | |
| 40 | ĐAI ỐC, M8 | 26717-080002 | 30,000 | |
| 41 | ĐAI ỐC, M10 | 26717-100002 | 5,000 | |
| 42 | ĐAI ỐC, M16 | 26737-160002 | ||
| 43 | ĐAI ỐC, KHÓA M16 | 26777-160002 | 41,000 | |
| 44 | BU LÔNG, M8X 20 | 26966-080202 | 70,000 |
| STT | Tên sản phẩm | Mã số | Giá bán | Đặt hàng |
|---|---|---|---|---|
| 1 | BẠC ĐẠN,LIÊN KẾT M8 A | 1C731C-47130 | 223,000 | |
| 2 | BẠC ĐẠN,LIÊN KẾT M8 B | 1C731C-47140 | 223,000 | |
| 3 | NÚT BẤM, 4X13 | 1C726C-47910 | 31,000 | |
| 4 | ĐAI ỐC,M8 TRÁI | 1C730C-63240 | 11,000 | |
| 5 | CẦN GẠT, CHỐT PHỤ | 1E6C80-64202 | ||
| 6 | CẦN GẠT, MỞ RỘNG | 1E6C40-64221 | 186,000 | |
| 7 | CẦN, 555,5LR | 1E6C80-64221 | 150,000 | |
| 8 | CẦN, THAY ĐỔI PHỤ | 1E6C80-64230 | 150,000 | |
| 9 | LIÊN KẾT, THAY ĐỔI PHỤ | 1E6C80-64261 | ||
| 10 | VÒNG ĐỆM 8 | 22137-080000 | 6,000 | |
| 11 | VÒNG ĐỆM, LÒ XO 8 | 22217-080000 | 3,000 | |
| 12 | VÒNG, E-12 | 22272-000120 | 5,000 | |
| 13 | VÒNG, E-12 | 22272-000120 | 5,000 | |
| 14 | CHỐT, ĐỊNH VỊ 2.0X20 | 22417-200200 | 8,000 | |
| 15 | BU LÔNG, M10X 20 | 26013-100202 | 34,000 | |
| 16 | ĐAI ỐC, M8 | 26717-080002 | 30,000 | |
| 17 | ĐAI ỐC, M8 | 26717-080002 | 30,000 |
| STT | Tên sản phẩm | Mã số | Giá bán | Đặt hàng |
|---|---|---|---|---|
| 1 | BẠC ĐẠN,LIÊN KẾT M8 A | 1C731C-47130 | 223,000 | |
| 1-1 | CẦN,CUỐI M10 | 1E6D15-64600 | ||
| 2 | CHỐT, CHẺ 8 | 1C730C-52320 | ||
| 3 | ĐAI ỐC, VÍT 10 L.H. | 1E8559-63481 | 20,000 | |
| 4 | ĐAI ỐC 10 | 1E8559-63860 | 109,000 | |
| 4-1 | ĐAI ỐC, M10 LR | 1E6D15-64580 | ||
| 4-2 | ĐAI ỐC, M10 LR | 1E6D15-64581 | ||
| 5 | CẦN, THAY ĐỔI CHÍNH A | 1E6C80-64070 | ||
| 5-1 | CẦN, DI CHUYỂN | 1E6D15-64590 | ||
| 6 | ỐNG LÓT, 15X31X15 | 1E6C80-64470 | ||
| 7 | VẤU LỒI, 25X40 | 1E6C80-64500 | ||
| 8 | THANH GIẰNG,TRỤC | 1E6C80-64510 | 98,000 | |
| 8-1 | THANH NGÀM, TRỤC | 1E6D15-64520 | ||
| 9 | CỤM TRỤC, NGOÀI D | 1E6C80-64550 | ||
| 9-1 | LIÊN KẾT, D NGOÀI | 1E6D15-64560 | ||
| 10 | CẦN, M8-M10 | 1E6C80-64581 | ||
| 11 | VÒNG ĐỆM 8 | 22137-080000 | 6,000 | |
| 12 | VÒNG ĐỆM, LÒ XO 8 | 22217-080000 | 3,000 | |
| 13 | BU LÔNG, M6X 16 | 26014-060162 | 11,000 | |
| 14 | BU LÔNG, M8X 20 | 26014-080202 | 6,000 | |
| 15 | ĐAI ỐC, M8 | 26717-080002 | 30,000 | |
| 16 | ĐAI ỐC, M8 | 26717-080002 | 30,000 | |
| 17 | ĐAI ỐC, M10 | 26717-100002 | 5,000 | |
| 18 | BU LÔNG, M8X 20 | 26966-080202 | 70,000 | |
| 19 | VÒNG ĐỆM 8 | 22157-080000 | 2,000 | |
| 20 | BU LÔNG, M8X 20 | 26013-080202 | 5,000 | |
| 21 | BU LÔNG 10X35 | 26014-100352 | 34,000 |
| STT | Tên sản phẩm | Mã số | Giá bán | Đặt hàng |
|---|---|---|---|---|
| 1 | BẠC ĐẠN,LIÊN KẾT M8 A | 1C731C-47130 | 223,000 | |
| 2 | CHỐT, CHẺ 8 | 1C730C-52320 | ||
| 3 | ỐNG LÓT,8X10X6 | 1E6C80-61540 | ||
| 4 | ĐAI ỐC, VÍT 10 L.H. | 1E8559-63481 | 20,000 | |
| 5 | ĐAI ỐC 10 | 1E8559-63860 | 109,000 | |
| 6 | TAY GẠT, QUAY A | 1E6C80-64700 | 301,000 | |
| 7 | TAY GẠT, QUAY B | 1E6C80-64720 | 228,000 | |
| 7-1 | CẦN, QUAY | 1E6D15-64700 | ||
| 8 | CẦN, 10X300 | 1E6C80-64740 | 80,000 | |
| 8-1 | CẦN, 10X315 | 1E6D15-64740 | ||
| 9 | TAY GẠT, QUAY C | 1E6C80-64770 | ||
| 10 | CỤM ỐNG, QUAY | 1E6C80-64801 | 440,000 | |
| 10-1 | CỤM ỐNG, QUAY | 1E6D15-64800 | ||
| 11 | CỤM CẦN,QUAY B | 1E6C80-64870 | 198,000 | |
| 11-1 | TAY, XOAY | 1E6D15-64750 | ||
| 12 | CẦN, QUAY | 1E6C80-64900 | 174,000 | |
| 13 | CẦN, QUAY A | 1E6C80-64940 | ||
| 13-1 | CẦN, QUAY A | 1E6C80-64941 | ||
| 14 | VÒNG ĐỆM 8 | 22137-080000 | 6,000 | |
| 15 | VÒNG ĐỆM, LÒ XO 8 | 22217-080000 | 3,000 | |
| 16 | VÒNG, 15 | 22242-000150 | 2,000 | |
| 16-1 | VÒNG, 15 | 22242-000150 | 2,000 | |
| 17 | VÒNG, 32 | 22252-000320 | 12,000 | |
| 18 | BẠC ĐẠN, BÓNG 6002UU | 24104-060024 | 72,000 | |
| 18-1 | ỐNG LÓT 18X20 | 24550-018200 | 55,000 | |
| 19 | BU LÔNG, M8X 20 | 26014-080202 | 6,000 | |
| 20 | BU LÔNG, M8X 65 | 26014-080652 | 59,000 | |
| 20-1 | BU LÔNG M8X 40 | 26014-080402 | 30,000 | |
| 21 | ĐAI ỐC, M8 | 26717-080002 | 30,000 | |
| 21-1 | ĐAI ỐC, M8 | 26717-080002 | 30,000 | |
| 22 | ĐAI ỐC, M8 | 26717-080002 | 30,000 | |
| 23 | ĐAI ỐC, M8 | 26717-080002 | 30,000 | |
| 24 | ĐAI ỐC, M10 | 26717-100002 | 5,000 | |
| 25 | BU LÔNG, M8X 20 | 26966-080202 | 70,000 | |
| 25-1 | BU LÔNG, M8X 20 | 26966-080202 | 70,000 | |
| 26 | VÒNG ĐỆM 8 | 22157-080000 | 2,000 | |
| 27 | BU LÔNG, M8X 20 | 26013-080202 | 5,000 |
| STT | Tên sản phẩm | Mã số | Giá bán | Đặt hàng |
|---|---|---|---|---|
| 1 | CẦN GẠT,LY HỢP K | 1E6C80-65200 | 558,000 | |
| 2 | DÂY, LY HỢP GẶT | 1E6C80-65251 | 297,000 | |
| 2-1 | DÂY, LY HỢP GẶT | 1E6C80-65280 | ||
| 3 | TAY CẦM, CẦN CHUYỂN | 1E6B30-65300 | 55,000 | |
| 4 | CỔ DÊ 140 | 1E8559-84970 | 34,000 | |
| 5 | VÒNG ĐỆM 8 | 22117-080000 | 9,000 | |
| 6 | CHỐT, ĐỊNH VỊ 2.0X20 | 22417-200200 | 8,000 | |
| 7 | ỐNG LÓT 20X15 | 24550-020150 | 42,000 |
| STT | Tên sản phẩm | Mã số | Giá bán | Đặt hàng |
|---|---|---|---|---|
| 1 | CHỐT, CHẺ 12 | 1C727C-26480 | 12,000 | |
| 2 | CẦN CHUYỂN, LY HỢP | 1E6C80-65000 | 504,000 | |
| 3 | LIÊN KẾT,LY HỢP D A | 1E6C80-65030-1 | ||
| 4 | TẤM, LIÊN KẾT D | 1E6C80-65060-1 | ||
| 5 | LIÊN KẾT, LY HỢP D B | 1E6C80-65070 | 228,000 | |
| 6 | CẦN, LY HỢP D | 1E6C80-65091 | ||
| 7 | TAY CẦM, CẦN CHUYỂN | 1E6B30-65300 | 55,000 | |
| 8 | ĐAI ỐC, 12 | 1E9060-65500 | 53,000 | |
| 9 | LÒ XO 4.5X21.5X112 | 1E8552-65650 | 206,000 | |
| 10 | MÓC A | 1E8559-65690 | 193,000 | |
| 11 | MÓC B | 1E8559-65700 | 157,000 | |
| 12 | CẦN CHUYỂN, CON LĂN NV | 1E8255-81180 | 91,000 | |
| 13 | CÔNG TẮC | 1E8915-81450 | 680,000 | |
| 14 | ĐAI ỐC 2-M3, CÔNG TẮC | 1E8550-84220 | ||
| 15 | VÒNG ĐỆM 10 | 22117-100000 | 5,000 | |
| 16 | VÒNG ĐỆM 3 | 22137-030000 | 30,000 | |
| 17 | VÒNG ĐỆM 12 | 22137-120000 | 5,000 | |
| 18 | VÒNG ĐỆM 20 | 22137-200000 | 44,000 | |
| 19 | VÒNG ĐỆM 20 | 22137-200000 | 44,000 | |
| 20 | VÒNG ĐỆM, LÒ XO 3 | 22217-030000 | 30,000 | |
| 21 | VÒNG, E-15 | 22272-000150 | 17,000 | |
| 22 | VÒNG, E-15 | 22272-000150 | 17,000 | |
| 23 | CHỐT, ĐỊNH VỊ 2.0X20 | 22417-200200 | 8,000 | |
| 24 | THEN 5X 20 | 22551-050200 | 12,000 | |
| 25 | ỐNG LÓT 20X15 | 24550-020150 | 42,000 | |
| 26 | ỐNG LÓT 20X15 | 24550-020150 | 42,000 | |
| 27 | VÍT, M3X20 | 26587-030202 | 30,000 | |
| 28 | ĐAI ỐC, M12 | 26717-120002 | 30,000 | |
| 29 | ĐAI ỐC, M12 | 26717-120002 | 30,000 |
| STT | Tên sản phẩm | Mã số | Giá bán | Đặt hàng |
|---|---|---|---|---|
| 1 | RON, PLUG 20 | 1E6B30-35130 | 11,000 | |
| 2 | BÌNH, THỦY LỰC | 1E6C80-66101 | 2,992,000 | |
| 2-1 | BÌNH, THỦY LỰC | 1E6C80-66102-1 | ||
| 3 | ĐẾ, NỆM A | 1E6C80-66161 | 133,000 | |
| 4 | ĐAI GIỮ, BÌNH | 1E6C80-66200 | 187,000 | |
| 5 | MẶT BÍCH, ỐNG HÚT | 1E6C80-66230 | 550,000 | |
| 5-1 | MẶT BÍCH, ỐNG HÚT | 1E6C80-66340 | ||
| 6 | CHỐT, DẦU M22 | 1E6C80-66260 | 31,000 | |
| 7 | PHỐT, 26X5X200 | 1E6C80-66270 | 42,000 | |
| 8 | ỐNG, 210 | 1E6C80-66290 | 42,000 | |
| 9 | CHỐT 14 | 1E8559-66300 | ||
| 10 | LỌC, LƯỚI 150 | 1E8050-66790 | 486,000 | |
| 11 | KHỚP NỐI, ỐNG | 1E6C80-66950 | ||
| 12 | ỐNG,L=580 | 1E6C80-66980 | 145,000 | |
| 12-1 | ỐNG, L=890 | 1E6D10-03190 | ||
| 13 | ỐNG,L=165 | 1E6C80-66990 | 48,000 | |
| 14 | KẸP, 13 | 23000-013000 | 84,000 | |
| 15 | KẸP, 19 | 23000-019000 | 119,000 | |
| 15-1 | KẸP, 13 | 23080-013000 | 55,000 | |
| 16 | PHỐT CHỮ O 1AP16.0 | 24311-000160 | 3,000 | |
| 17 | PHỐT CHỮ O 1AG70.0 | 24321-000700 | 12,000 | |
| 18 | BU LÔNG, M8X 16 | 26013-080162 | 8,000 | |
| 19 | BU LÔNG, M8X 30 | 26014-080302 | 11,000 | |
| 20 | KẸP, VÒNG | 1E9265-84300 | 84,000 |
| STT | Tên sản phẩm | Mã số | Giá bán | Đặt hàng |
|---|---|---|---|---|
| 1 | NAM CHÂM | 1C7500-37020 | ||
| 2 | ỐNG,XẢ 12-1660 | 1E6C81-66101 | 815,000 | |
| 3 | ỐNG, 10-110 | 1E6C80-66420 | 67,000 | |
| 4 | KHUNG, BỘ LÀM MÁT DẦU | 1E6C81-66550 | ||
| 4-1 | KHUNG, BỘ LÀM MÁT DẦU | 1E6C81-66900 | ||
| 5 | ỐNG,XẢ 12-1300 | 1E6C80-66571 | 486,000 | |
| 6 | GIÁ ĐỠ ,BỘ LÀM MÁT DẦU | 1E6C81-66580 | ||
| 7 | BỘ LÀM MÁT, DẦU | 1E8600-66700 | ||
| 8 | PHỐT, 3X10X546 | 1E6C81-66731 | ||
| 9 | GIÁ ĐỠ, MỞ O/C | 1E6C81-66751 | ||
| 9-1 | GIÁ ĐỠ, MỞ O/C | 1E6C81-66880 | ||
| 10 | MIẾNG CANH 5 | 1E8559-75030 | 22,000 | |
| 11 | ĐINH TÁN, 3.2X 4.8 | 22697-320481 | ||
| 12 | KẸP, 28 | 23000-028000 | 154,000 | |
| 13 | KẸP, 28 | 23000-028000 | 154,000 | |
| 14 | KẸP, 28 | 23000-028000 | 154,000 | |
| 15 | BU LÔNG, M8X 20 | 26014-080202 | 6,000 | |
| 16 | BU LÔNG, M8X 20 | 26014-080202 | 6,000 | |
| 17 | BU LÔNG, M8X 20 | 26014-080202 | 6,000 | |
| 18 | BU LÔNG, M8X 30 | 26014-080302 | 11,000 | |
| 18-1 | ĐAI ỐC, M8 | 26367-080002 | 25,000 |
| STT | Tên sản phẩm | Mã số | Giá bán | Đặt hàng |
|---|---|---|---|---|
| 1 | CỤM KHUỶN NỐI, 45 G3/8- | 1A8292-22530 | 224,000 | |
| 2 | KHUỶU NỐI, 45 G3/8-G3/8 | 1A8292-22540 | 224,000 | |
| 3 | PHỐT CHỮ O 1BP14.0 | 24315-000140 | 3,000 | |
| 4 | CỤM BƠM, 6CC | 1E6C80-66010 | ||
| 4-1 | CỤM BƠM, 6CC | 1E6C80-66011 | 3,927,000 | |
| 5 | ỐNG, HÚT | 1E6C80-66360 | 781,000 | |
| 6 | ỐNG, HÚT P | 1E6C80-66370 | 268,000 | |
| 7 | ỐNG, HÚT | 1E6C80-66400 | ||
| 8 | ỐNG, THỦY LỰC 06-760 | 1E9063-66550 | 507,000 | |
| 9 | RON HỘP TRUYỀN ĐỘNG, BƠM | 1E6C40-66800 | 90,000 | |
| 10 | ỐNG,THỦY LỰC 04-2750 | 1E6C80-66870 | 798,000 | |
| 10-1 | ỐNG, HYD.04-2350 | 1E6C80-66871 | ||
| 11 | ỐNG,THỦY LỰC 06-1430 | 1E6C80-66880 | 731,000 | |
| 12 | CAO SU,BẢO VỆ ỐNG | 1E6C40-66890 | 80,000 | |
| 13 | CỤM KHỚP NỐI,G3/4-26 | 1E6C40-69150 | 354,000 | |
| 14 | PHỐT CHỮ O 1BP24.0 | 24315-000240 | 14,000 | |
| 15 | CỔ DÊ 250 | 1E8559-84960 | 25,000 | |
| 16 | CỔ DÊ 250 | 1E8559-84960 | 25,000 | |
| 17 | CỔ DÊ 250 | 1E8559-84960 | 25,000 | |
| 18 | CỔ DÊ 250 | 1E8559-84960 | 25,000 | |
| 19 | KẸP, 35 | 23000-035000 | 154,000 | |
| 20 | KẸP, 35 | 23000-035000 | 154,000 | |
| 21 | GU ZÔNG M8X 20 | 26216-080202 | 34,000 | |
| 22 | ĐAI ỐC, M8 | 26306-080002 | 20,000 |
| STT | Tên sản phẩm | Mã số | Giá bán | Đặt hàng |
|---|---|---|---|---|
| 1 | BỘ LÀM MÁT,DẦU 21 | 1E6C30-66000 | 13,748,000 | |
| 2 | ỐNG NHỚT THẢI 12-1100 | 1E6B30-66310 | 531,000 | |
| 3 | CỤM ỐNG, BỘ LÀM MÁT PHÍA TRƯỚC | 1E6C80-66450 | 403,000 | |
| 4 | CỤM ỐNG, BỘ LÀM MÁT PHÍA SAU | 1E6C80-66490 | 403,000 | |
| 5 | ỐNG,XẢ 10-250 | 1E6C80-66560 | 115,000 | |
| 6 | ỐNG,XẢ 6-1030 | 1E6B00-66690 | 531,000 | |
| 7 | KẸP, 28 | 23000-028000 | 154,000 | |
| 8 | KẸP, 28 | 23000-028000 | 154,000 | |
| 9 | KẸP, 28 | 23000-028000 | 154,000 | |
| 10 | BU LÔNG, M8X 20 | 26014-080202 | 6,000 | |
| 10-1 | BU LÔNG, M8X 20 | 26014-080202 | 6,000 | |
| 11 | BU LÔNG, M8X 20 | 26014-080202 | 6,000 | |
| 12 | ĐAI ỐC, M8 | 26367-080002 | 25,000 |
| STT | Tên sản phẩm | Mã số | Giá bán | Đặt hàng |
|---|---|---|---|---|
| 1 | CỤM LỌC | 1E6C80-66020 | ||
| 2 | CỤM ỐNG LÓT | 1E6C80-66030 | 1,300,000 | |
| 3 | CỤM ĐẦU | 1E6B90-66260 | 1,224,000 | |
| 4 | THANH GIẰNG, BỘ LỌC | 1E6C80-66070 | 133,000 | |
| 5 | KHUỶU NỐI, G3/4-20 | 1E8540-66140 | 1,641,000 | |
| 6 | CỤM KHỚP NỐI | 1E6C80-66300 | ||
| 7 | PHỐT CHỮ O 1BP24.0 | 24315-000240 | 14,000 | |
| 8 | CỤM KHỚP NỐI, 1/2 | 1E6D10-66370 | ||
| 9 | PHỐT CHỮ O 1BP18.0 | 24315-000180 | 11,000 | |
| 10 | ĐẦU CHUYỂN ĐỔI, R3/4-17 | 1E6C80-66390 | 161,000 | |
| 11 | ỐNG, 10-60 | 1E6C80-66410 | 42,000 | |
| 12 | KHỚP NỐI,R1/8 | 1E6C80-66430 | 84,000 | |
| 13 | ỐNG,L=550 | 1E6C80-66440 | 154,000 | |
| 14 | ỐNG,XẢ 12-360 | 1E6C80-66551 | 217,000 | |
| 15 | ỐNG,THỦY LỰC 08-430 | 1E6C80-66580 | 485,000 | |
| 16 | ỐNG,THỦY LỰC 08-325 | 1E6C80-66590 | 440,000 | |
| 17 | CỤM KHỚP NỐI, ỐNG | 1E6C80-66700 | 685,000 | |
| 18 | VÒNG ĐỆM 8X12X8 | 1E8540-66770 | 173,000 | |
| 19 | DẪN HƯỚNG, ỐNG A | 1E6C80-66911 | 58,000 | |
| 20 | BỘ GIẢM ÁP,SỐ 2 | 172524-76800 | 10,034,000 | |
| 21 | THÂN, VAN | 172524-76810 | 10,034,000 | |
| 22 | Ụ TRƯỚC | 172524-76820 | 10,034,000 | |
| 23 | LÒ XO, VAN | 172524-76830 | 10,034,000 | |
| 24 | ĐẾ, LÒ XO | 172524-76840 | 10,034,000 | |
| 25 | VÒNG, 22 | 22252-000220 | 30,000 | |
| 26 | CỤM KHỚP NỐI | 172141-76900 | 1,643,000 | |
| 26-1 | CỤM KHỚP NỐI | 172141-76900 | 1,643,000 | |
| 26-2 | CỤM KHỚP NỐI | 172141-76900 | 1,643,000 | |
| 27 | PHỐT CHỮ O 1BP18.0 | 24315-000180 | 11,000 | |
| 27-1 | PHỐT CHỮ O 1BP18.0 | 24315-000180 | 11,000 | |
| 27-2 | PHỐT CHỮ O 1BP18.0 | 24315-000180 | 11,000 | |
| 28 | KẸP, 19 | 23000-019000 | 119,000 | |
| 29 | KẸP, 28 | 23000-028000 | 154,000 | |
| 30 | KẸP, 28 | 23000-028000 | 154,000 | |
| 31 | BU LÔNG, M8X 20 | 26014-080202 | 6,000 | |
| 32 | BU LÔNG, M8X 20 | 26014-080202 | 6,000 | |
| 33 | BU LÔNG, M8X 20 | 26014-080202 | 6,000 | |
| 34 | CHỐT, 12.0X4 | 29311-124000 | 75,000 | |
| 35 | ỐNG,THỦY LỰC 08-500 | 1E6C80-66520 | 1,635,000 | |
| 35-1 | ỐNG,THỦY LỰC 08-500 | 1E6C80-66520 | 1,635,000 | |
| 36 | CỤM ĐẦU NỐI,G1/2 | 1E6C80-66780 | ||
| 36-1 | CỤM ĐẦU NỐI,G1/2 | 1E6C80-66780 | ||
| 37 | ĐẦU NỐI,G1/2 90 | 1E6C80-66790 | ||
| 37-1 | ĐẦU NỐI,G1/2 90 | 1E6C80-66790 | ||
| 38 | CHỐT,G1/2 | 1E6C80-66840 | ||
| 38-1 | CHỐT,G1/2 | 1E6C80-66840 | ||
| 39 | KẸP, VÒNG | 1E9265-84300 | 84,000 | |
| 39-1 | KẸP, VÒNG | 1E9265-84300 | 84,000 |
| STT | Tên sản phẩm | Mã số | Giá bán | Đặt hàng |
|---|---|---|---|---|
| 1 | VAN, ĐIỀU KHIỂN | 1E6C80-66000 | 28,105,000 | |
| 1-1 | VAN, ĐIỀU KHIỂN | 1E6C80-66001 | ||
| 1A | CỤM ĐIỆN TỪ, A | 1E6C81-66010 | ||
| 1B | VAN | 1E6C81-66340 | ||
| 1C | VAN,C/O 1,8 | 1E6C81-66350 | ||
| 1D | VAN,C/O 1,5 | 1E6C81-66360 | ||
| 1E | PHỐT CHỮ O,ĐIỆN TỪ | 1E6C81-66490 | ||
| 1F | BỘ VAN,XẢ | 1E6C81-66500 | 3,134,000 | |
| 1G | BỘ VAN,XẢ SỐ 2 | 1E6C81-66510 | ||
| 1H | BỘ VAN,ĐÓNG | 1E6C81-66520 | ||
| 1H-1 | BỘ VAN,ĐÓNG | 1E6C81-66521 | ||
| 2 | CỤM BỘ PHẬN LỌC DẦU | 1E6681-66370 | 1,921,000 | |
| 3 | ĐẦU NỐI, G1/4-G3/8 | 1E6C80-66850 | 90,000 | |
| 4 | PHỐT CHỮ O, 1AP11.0 | 24311-000110 | 3,000 | |
| 5 | ĐẦU NỐI | 172164-76131 | 1,009,000 | |
| 6 | PHỐT CHỮ O 1BP18.0 | 24315-000180 | 11,000 | |
| 7 | TRẢ NGHẸN, 1/4 | 1C726C-76210 | 81,000 | |
| 8 | CỤM KHUỶU NỐI | 172157-76300 | 1,756,000 | |
| 9 | KHUỶU NỐI, PF3/8-1/2 | 172157-76310 | 1,532,000 | |
| 10 | PHỐT CHỮ O 1BP18.0 | 24315-000180 | 11,000 | |
| 11 | BU LÔNG, M8X 20 | 26014-080202 | 6,000 |
| STT | Tên sản phẩm | Mã số | Giá bán | Đặt hàng |
|---|---|---|---|---|
| 1 | XI LANH, PF | 1E6C80-67000 | 5,960,000 | |
| 1-1 | XI LANH, PF | 1E6D15-67000 | ||
| 2 | CỤM ỐNG | 1E6C80-67010 | 1,804,000 | |
| 2-1 | CỤM ỐNG | 1E6D15-67010 | ||
| 3 | CỤM CẦN NỐI | 1E6C80-67050 | 2,406,000 | |
| 4 | BẠC NỐI, 45.8X59X5 | 1E6B30-67490 | 90,000 | |
| 5 | CỤM GIÁ ĐỠ, PHỚT | 1E6B30-67810 | 3,420,000 | |
| 5-1 | CỤM GIÁ ĐỠ, PHỚT | 1E6D15-67040 | 3,087,000 | |
| 6 | VÒNG, ĐỆM | 1E6B30-67500 | 257,000 | |
| 7 | CỤM GIÁ ĐỠ, CẦN NỐI | 1E6B30-67820 | ||
| 7-1 | CỤM GIÁ ĐỠ, CẦN NỐI | 1E6D15-67050 | ||
| 8 | GIÁ ĐỠ, CẦN TRỤC | 1E6B30-67570 | 2,130,000 | |
| 9 | ỐNG LÓT 45X30 | 24550-045300 | 281,000 | |
| 10 | GẠT, 45 | 1E6B30-67830 | 300,000 | |
| 11 | ĐÓNG GÓI RNY-45A | 1E8300-94780 | 523,000 | |
| 12 | VÒNG ĐỆM CHỮ O, 1BG60.0 | 24325-000600 | 70,000 | |
| 13 | CỤM CHỐT CHẶN,XY-LANH. | 1E6C80-67210-1 | ||
| 13-1 | CỤM CHỐT CHẶN,XY-LANH. | 1E6C80-67211 | ||
| 13-2 | CHỐT HÃM, XI LANH | 1E6C80-67220 | ||
| 14 | CHỐT, XY LANH | 1E6C40-67260 | 145,000 | |
| 15 | CHỐT, BẢN LỀ XY LANH | 1E6C80-67300 | 189,000 | |
| 16 | MIẾNG CANH 5 | 1E8559-75030 | 22,000 | |
| 17 | VÒNG ĐỆM 8 | 22157-080000 | 2,000 | |
| 18 | CHỐT, CHẺ | 22372-080000 | ||
| 19 | KHỚP NỐI 90RGI-3/8 | 23393-030000 | 634,000 | |
| 20 | NÚM, DẦU BÔI TRƠN MT6X1 | 24761-060000 | 47,000 | |
| 21 | BU LÔNG, M8X 20 | 26014-080202 | 6,000 | |
| 22 | BU LÔNG, M8X 20 | 26014-080202 | 6,000 |
| STT | Tên sản phẩm | Mã số | Giá bán | Đặt hàng |
|---|---|---|---|---|
| 1 | BU LÔNG CÁNH, 6X10 | 1F4124-44410 | 148,000 | |
| 2 | BU LÔNG CÁNH, 6X10 | 1F4124-44410 | 148,000 | |
| 3 | CỘT TRỤ, ĐẾ | 1E6C80-68002 | ||
| 4 | TẤM,BỘ CÁCH NHIỆT D | 1E6C80-68230 | ||
| 5 | PHỐT,15X15X550 | 1E6C80-68240 | 48,000 | |
| 5-1 | PHỚT, 30X25X580 | 1E6C80-68710 | ||
| 6 | TẤM,CÁCH ĐIỆN C | 1E6C80-68251 | ||
| 7 | PHỐT, 15X15X355 | 1E6C80-68260 | 31,000 | |
| 7-1 | PHỚT, 30X25X330 | 1E6C80-68720 | ||
| 8 | TẤM,BỘ CÁCH NHIỆT E | 1E6C80-68270 | ||
| 9 | TẤM,CÁCH ĐIỆN A | 1E6C80-68280 | 204,000 | |
| 10 | TẤM,CÁCH ĐIỆN B | 1E6C80-68290 | 250,000 | |
| 11 | NẮP, ĐẾ B | 1E6C80-68320 | 217,000 | |
| 12 | NẮP,ĐẾ C | 1E6C80-68340-1 | ||
| 13 | TẤM,BỘ CÁCH NHIỆT F | 1E6C80-68352 | ||
| 14 | NẮP, ĐẾ A | 1E6C80-68370 | ||
| 14-1 | NẮP, ĐẾ A | 1E6C80-68371-1 | ||
| 15 | TẤM,BỘ CÁCH NHIỆT G | 1E6C80-68470 | ||
| 16 | THANH, ĐỠ | 1E6C80-68500 | 471,000 | |
| 17 | BU LÔNG, M6X 16 | 26014-060162 | 11,000 | |
| 18 | BU LÔNG, M8X 20 | 26014-080202 | 6,000 | |
| 19 | BU LÔNG, M8X 20 | 26014-080202 | 6,000 | |
| 20 | PHỐT, BƯỚC D | 1E6D15-68110 | ||
| 21 | PHỐT, BƯỚC E | 1E6D15-68120 |
| STT | Tên sản phẩm | Mã số | Giá bán | Đặt hàng |
|---|---|---|---|---|
| 1 | PHỐT,15X15X550 | 1E6C80-68240 | 48,000 | |
| 1-1 | PHỚT, 30X25X525 | 1E6C80-68760 | ||
| 2 | NẮP,BUỒNG MÁY TRÊN | 1E6C80-68400 | 1,139,000 | |
| 3 | MIẾNG XỐP,BUỒNG MÁY | 1E6C80-68480 | 549,000 | |
| 4 | ĐO THỜI GIAN | 129211-77920 | 1,419,000 | |
| 5 | RƠ LE,ISO 30A | 1E6C30-82000 | 961,000 | |
| 6 | VÒNG ĐỆM 5 | 22137-050000 | 2,000 | |
| 7 | VÒNG ĐỆM 6 | 22137-060000 | 2,000 | |
| 8 | VÒNG ĐỆM, LÒ XO 5 | 22217-050000 | 2,000 | |
| 9 | VÒNG ĐỆM, LÒ XO 6 | 22217-060000 | 2,000 | |
| 10 | BU LÔNG, M8X 20 | 26014-080202 | 6,000 | |
| 11 | ĐAI ỐC, M5 | 26717-050002 | 30,000 | |
| 12 | ĐAI ỐC, M6 | 26717-060002 | 11,000 |
| STT | Tên sản phẩm | Mã số | Giá bán | Đặt hàng |
|---|---|---|---|---|
| 1 | CHỐT, 8 | 1J5240-44700 | 30,000 | |
| 1-1 | VÍT, 6X16 | 1E6690-61470 | ||
| 2 | TẤM,SÀN SAU | 1E6C80-68600 | 781,000 | |
| 3 | PHỐT,SÀN SAU | 1E6C80-68650 | 55,000 | |
| 4 | PHỐT,BƯỚC | 1E6C80-68680 | 12,000 | |
| 5 | NẮP, BỆ BƯỚC | 1E6C80-68700 | ||
| 5-1 | NẮP, BỆ BƯỚC | 1E6D15-68680 | 899,000 | |
| 6 | TẤM, SÀN TRƯỚC | 1E6C80-68730-1 | ||
| 6-1 | TẤM, SÀN TRƯỚC | 1E6D10-68740 | ||
| 7 | CỤM BƯỚC,MẶT BÊN TRÊN | 1E6C85-68901 | 1,156,000 | |
| 8 | CỤM THANH GIẰNG, BƯỚC | 1E6C85-68930 | 182,000 | |
| 9 | BỆ BƯỚC, BÊN DƯỚI | 1E6C85-68960 | 634,000 | |
| 10 | VÒNG ĐỆM 12 | 22137-120000 | 5,000 | |
| 11 | VÒNG ĐỆM 6 | 22157-060000 | 11,000 | |
| 12 | CHỐT, ĐỊNH VỊ 2.5X25 | 22417-250250 | 9,000 | |
| 13 | BU LÔNG, M6X 16 | 26013-060162 | 25,000 | |
| 14 | BU LÔNG, M6X 16 | 26014-060162 | 11,000 | |
| 15 | BU LÔNG M10X 25 | 26014-100252 | 34,000 |
| STT | Tên sản phẩm | Mã số | Giá bán | Đặt hàng |
|---|---|---|---|---|
| 1 | ĐẾ, LẮP | 1E6B00-68100 | 2,007,000 | |
| 2 | VÒNG ĐỆM, LÒ XO 8 | 22217-080000 | 3,000 | |
| 3 | ĐAI ỐC, M8 | 26717-080002 | 30,000 |
| STT | Tên sản phẩm | Mã số | Giá bán | Đặt hàng |
|---|---|---|---|---|
| 1 | BU LÔNG M10X25 | 1E6B00-68500 | 87,000 | |
| 2 | ĐẾ, BỘ VẬN HÀNH A | 1E6C80-68850 | 533,000 | |
| 3 | ĐẾ, BỘ VẬN HÀNH B | 1E6C80-68900 | 446,000 | |
| 4 | ĐẾ, BỘ VẬN HÀNH C | 1E6C80-68920 | 203,000 | |
| 5 | CHỐT, 10 | 1E6C80-68930 | 97,000 | |
| 6 | ĐỆM LÓT, CAO SU | 1E6C80-68940 | 25,000 | |
| 7 | VÒNG ĐỆM,8X12X4 | 1E6C81-73910 | 25,000 | |
| 8 | VÒNG ĐỆM 10 | 22157-100000 | 25,000 | |
| 9 | VÒNG ĐỆM, LÒ XO 10 | 22217-100000 | 2,000 | |
| 10 | CHỐT, CHẺ | 22372-100000 | ||
| 11 | CHỐT, CHẺ | 22372-100000 | ||
| 12 | BU LÔNG, M8X 20 | 26014-080202 | 6,000 |
| STT | Tên sản phẩm | Mã số | Giá bán | Đặt hàng |
|---|---|---|---|---|
| 1 | KHUNG, MÁI CHE NẮNG | 1E6C80-69000 | 2,026,000 | |
| 2 | KHUNG,MÁI CHE TS | 1E6C80-69201 | ||
| 2-1 | KHUNG,MÁI CHE TS | 1E6C80-69202 | ||
| 3 | ĐẾ, MÁI CHE TS | 1E6C80-69301 | ||
| 4 | MÁI CHE NẮNG | 1E6C80-69500 | 1,982,000 | |
| 5 | TẤM, VÀNH CHẮN NẮNG | 1E6C40-69550 | 1,367,000 | |
| 6 | BU LÔNG,MÁI CHE | 1E6C80-69551 | 257,000 | |
| 7 | ĐAI ỐC, CỐ ĐỊNH | 1E6C80-69601 | 129,000 | |
| 8 | VÍT, NÚM M10X20 | 1E6B30-69950 | 81,000 | |
| 9 | CHỐT, 10X2 | 1E6B30-69970 | 19,000 | |
| 10 | VÒNG ĐỆM 14 | 22137-140000 | 6,000 | |
| 11 | VÒNG ĐỆM 8 | 22157-080000 | 2,000 | |
| 12 | BU LÔNG, M8X 20 | 26014-080202 | 6,000 | |
| 13 | BU LÔNG, M8X 40 ĐẦU BẰNG | 26116-080404 | ||
| 14 | BU LÔNG, M8X 45 ĐẦU BẰNG | 26116-080452 | 30,000 | |
| 14-1 | BU LÔNG, M8X 45 ĐẦU BẰNG | 26116-080452 | 30,000 | |
| 15 | ĐAI ỐC, M8 | 26347-080002 | 75,000 | |
| 16 | VÒNG ĐỆM 8 | 22137-080000 | 6,000 | |
| 17 | CHỐT, CHẺ | 22372-080000 | ||
| 18 | CHỐT, H 8X 40 | 22487-080400 | 89,000 |
| STT | Tên sản phẩm | Mã số | Giá bán | Đặt hàng |
|---|---|---|---|---|
| 1 | CỤM MÁI CHE,PHỤ TRỢ | 7E6C80-69100 | 6,683,000 | |
| 2 | MÁI CHE, PHỤ TRỢ | 1E6C80-69100 | ||
| 3 | KHUNG, MÁI CHE NẮNG | 1S7596-69100 | ||
| 4 | NẮP, MÁI CHE NẮNG | 1S7596-69500 | ||
| 5 | VÒNG ĐỆM 6 | 22137-060000 | 2,000 | |
| 6 | VÍT, M6X12 | 26587-060122 | 34,000 | |
| 7 | TRỤC BẢN LỀ, KHUNG | 1S7596-69250 | ||
| 8 | ĐẾ,MÁI CHE F | 1S7596-69300 | ||
| 9 | ĐẾ,MÁI CHE R | 1S7596-69400 | ||
| 10 | BU LÔNG, M8X 20 | 26014-080202 | 6,000 |